
|
|


Compact 600 och Compact 800
En liten och lättskött avloppspumpstation för
tryckavloppssystem.
Lämplig som pumpstation för enskilda hushåll och
sommarstugor.
Höjden kan rekvireras 1000 mm
2300 mm enligt val.
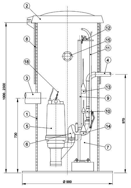
Huvudkomponenter i pumpstationen
| 1 |
Pumpsump Ø 600 eller Ø
800 |
PEH dubbelrör |
| 2 |
Isolerande och tätande
lock |
Låsbart |
| 3 |
Inkommande anslutning PN 6 |
DN 110 |
| 4 |
Tryckavgång PN 10 |
DN 40 |
| 5 |
Pump Hydromatic HPD200 |
1-fas eller 3-fas |
| 6 |
Glidsko / kulbackventil |
|
| 7 |
Kopplingsfot DN 40 |
DN 40 |
| 8 |
Värmeisolering |
Cellplast |
| 9 |
Gejderrör, 2 st |
1 RST |
| 10 |
Avstängningsventil RST |
DN 40 |
| 11 |
Manöverstång till ventil |
½ RST |
| 12 |
Övre konsol med krokar |
RST |
| 13 |
Nivåvippa för hög nivå
alarm |
KARI M1H |
| 14 |
Nivåvippa för start och
stopp |
KARI M2H |
| 15 |
Kabelingång / stödfot |
RST |
| 16 |
Stolpe för styrcentral |
RST |
| 17 |
Styrcentral |
IP 44 |
| 18 |
Lyftkätting |
RST |
| 19 |
Innerlock (tillval) |
Uretan |
|

|