
|
|


Compact 600 ja Compact 800
Pienikokoinen ja helppohoitoinen jätevesipumppaamo
paineviemärijärjestelmiin.
Soveltuu yhden talouden pumppaamoksi ja vapaa-ajan
asunnon pumppaamoksi.
Korkeus tilattavissa 1000 mm
2300 mm valinnan
mukaan,
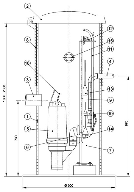
Pumppaamon pääkomponentit
| 1 |
Pumppaamosäiliö Ø 600
tai Ø 800 |
PEH kaksoisputki |
| 2 |
Eristetty tiivisteellinen
kansi |
Lukittava |
| 3 |
Tuloyhde PN 6 |
DN 110 |
| 4 |
Paineyhde PN 10 |
DN 40 |
| 5 |
Pumppu Hydromatic HPD200 |
1-vaihe tai 3-vaihe |
| 6 |
Luisti /
pallotakaiskuventtiili |
|
| 7 |
Uppoliitin DN 40 |
DN 40 |
| 8 |
Lämpöeriste |
Solumuovi |
| 9 |
Johdeputket, 2 kpl |
1 RST |
| 10 |
Sulkuventtiili RST |
DN 40 |
| 11 |
Sulkuventtiilin kara |
½ RST |
| 12 |
Yläpidike
ripustuskoukkuineen |
RST |
| 13 |
Ylärajapintakytkin |
KARI M1H |
| 14 |
Käynnistyspintakytkin |
KARI M2H |
| 15 |
Kaapeliväylä /
kannatinjalusta |
RST |
| 16 |
Ohjauskeskuksen tolppa |
RST |
| 17 |
Ohjauskeskus |
IP 44 |
| 18 |
Nostokettinki |
RST |
| 19 |
Välikansi (lisävaruste) |
Uretaani |
|

|